AHM-404
- Paramètres techniques
- Hauteur de chute nominale(m):35
- Débit nominal(m³/h):4
- IP Classe:54
- Classe d’isolation:F
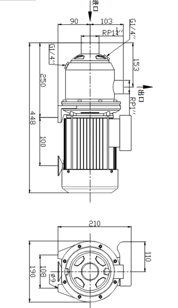
- Taille de l’insert(mm):32
- Taille de la sortie(mm):25
- Longueur de port à port (mm):/
- Pression du système(Bar) :10
- Température
- Température ambiante(℃):-25℃~55℃
- Température du liquide(℃):-25℃~110℃
- Données électriques
- Puissance(W):980
- Fréquence (Hz):50
- Tension(v):220





+86 551 62379807
info@shinhoopump.com




Support des réseaux IPv6